一种刷毛修剪设备的制作方法

本技术涉及修剪设备,尤其是涉及一种刷毛修剪设备。
背景技术:
1、化妆是现代女性的一种必备技能,而化妆刷则是化妆的重要工具之一。化妆刷通常包括有刷毛、连接件和刷柄,由中间的连接件对刷毛和刷柄进行连接,整理成捆柄并涂胶后的刷毛与连接件组合后会形成刷头结构。而刷头结构内刷毛容易出现杂乱的情况,需要人利用修剪设备将刷毛进行修剪整齐。
2、公告号cn108371395b的专利公开了“一种化妆刷刷毛修剪设备。本发明要解决的技术问题是提供一种修剪简便、修剪时间短、定义修剪过程的化妆刷刷毛修剪设备。为了解决上述技术问题,本发明提供了这样一种化妆刷刷毛修剪设备。通过切割机构和移动固定机构的相互配合,对化妆刷进行修剪,同时利用夹持机构的优化,达到了修剪简便、修剪时间短、定义修剪过程的效果”。
3、针对上述文件说明书中所提出的“传统的修剪方式修剪过程繁琐、修剪时间较长、修剪结果不统一”的问题,本申请提供另一技术方案解决上述技术问题。
技术实现思路
1、本实用新型针对传统的修剪方式修剪过程繁琐、修剪时间较长、修剪结果不统一的缺点,提供了一种刷毛修剪设备,具体技术方案如下:
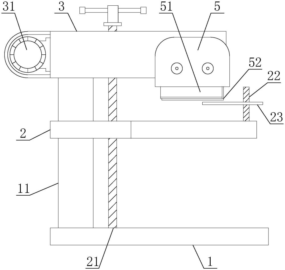
2、一种刷毛修剪设备,包括底座和设在底座顶部的推毛机构,所述底座顶部设有承载台和横柱,所述横柱位于承载台正上方,所述横柱一端外壁固定设有电机,所述横柱另一端内壁转动设有转杆,所述电机输出端和转杆一端外壁之间设有位于横柱外侧的传动机构;
3、所述推毛机构包括活动设在横柱外侧的上推毛刀、固定设在横柱外侧且与上推毛刀配合抵接的下推毛刀,所述转杆一端设有用于带动上推毛刀横向往复移动的连接机构。
4、通过采用上述技术方案,通过电机驱动,配合传动机构的传动和连接机构的连接,能带动上推毛刀进行横向水平往复移动,固定的下推毛刀能与移动的上推毛刀相对剪合,从而实现对刷毛的电动修剪。
5、可选的,所述底座顶部一侧固定设有支撑柱,所述承载台固定设在支撑柱外壁中部,所述横柱滑动设在支撑柱的顶端外壁,所述底座和承载台之间转动设有第一螺纹杆,所述横柱螺纹设在第一螺纹杆的顶端外壁,所述第一螺纹杆顶端固定设有握柄。
6、通过采用上述技术方案,通过旋转第一螺纹杆,能带动横柱和推毛机构升降移动,便于推毛机构对不同高度刷头结构的刷毛进行修剪。
7、可选的,所述传动机构包括固定设在电机输出端和转杆一端外壁的传动轮、配合抵接在两个所述传动轮外壁之间的传动皮带,所述横柱一端外壁固定设有固定盒,所述上推毛刀活动连接在固定盒的底端,所述下推毛刀固定连接在固定盒的底端。
8、通过采用上述技术方案,电机运行后能通过传动机构内传动皮带和传动轮的传动而带动转杆进行转动。
9、可选的,所述连接机构包括偏心轮、连接杆、连接座和u形架,所述偏心轮固定设在转杆远离传动机构的一端,所述连接杆一端转动设在偏心轮的偏心处,所述连接杆另一端转动设在连接座内,所述连接座一侧与上推毛刀外壁固定连接,所述连接座滑动连接在u形架内,所述u形架固定设在固定盒的内壁。
10、通过采用上述技术方案,转杆带动偏心轮旋转后,配合连接杆的连接和u形架的限位,能带动连接座进行横向移动,连接座移动后会带动上推毛刀进行横向水平往复移动。
11、可选的,所述承载台顶部转动设有第二螺纹杆,所述第二螺纹杆外壁螺纹设有位于推毛机构下方的保护板。
12、通过采用上述技术方案,保护板旋转后能在第二螺纹杆上升降移动,使人们修剪刷毛时能始终将手放在保护板底部。
13、综上所述,本实用新型包括以下至少一种有益效果:
14、1.通过电机驱动,配合传动机构的传动和连接机构的连接,能带动上推毛刀进行横向水平往复移动,固定的下推毛刀能与移动的上推毛刀相对剪合,从而实现对刷毛的电动修剪,修剪简便,提高了修剪效率,并提高修剪后刷毛部分的整齐度。
15、2.通过旋转第一螺纹杆,能带动横柱和推毛机构升降移动,便于推毛机构对不同高度刷头结构的刷毛进行修剪,且保护板旋转后能在第二螺纹杆上升降移动,使人们修剪刷毛时能始终将手放在保护板底部,从而避免人们手持刷头结构修剪时误碰到顶部的推毛刀而发生安全事故,提高操作的安全性。
技术特征:
1.一种刷毛修剪设备,包括底座(1)和设在底座(1)顶部的推毛机构,其特征在于:
2.根据权利要求1所述的一种刷毛修剪设备,其特征在于:所述底座(1)顶部一侧固定设有支撑柱(11),所述承载台(2)固定设在支撑柱(11)外壁中部,所述横柱(3)滑动设在支撑柱(11)的顶端外壁。
3.根据权利要求2所述的一种刷毛修剪设备,其特征在于:所述底座(1)和承载台(2)之间转动设有第一螺纹杆(21),所述横柱(3)螺纹设在第一螺纹杆(21)的顶端外壁,所述第一螺纹杆(21)顶端固定设有握柄。
4.根据权利要求1所述的一种刷毛修剪设备,其特征在于:所述传动机构包括固定设在电机(31)输出端和转杆(32)一端外壁的传动轮、配合抵接在两个所述传动轮外壁之间的传动皮带。
5.根据权利要求1所述的一种刷毛修剪设备,其特征在于:所述横柱(3)一端外壁固定设有固定盒(5),所述上推毛刀(51)活动连接在固定盒(5)的底端,所述下推毛刀(52)固定连接在固定盒(5)的底端。
6.根据权利要求1所述的一种刷毛修剪设备,其特征在于:所述连接机构包括偏心轮(33)、连接杆(34)、连接座(35)和u形架(36),所述偏心轮(33)固定设在转杆(32)远离传动机构(4)的一端。
7.根据权利要求6所述的一种刷毛修剪设备,其特征在于:所述连接杆(34)一端转动设在偏心轮(33)的偏心处,所述连接杆(34)另一端转动设在连接座(35)内,所述连接座(35)一侧与上推毛刀(51)外壁固定连接。
8.根据权利要求7所述的一种刷毛修剪设备,其特征在于:所述连接座(35)滑动连接在u形架(36)内,所述u形架(36)固定设在固定盒(5)的内壁。
9.根据权利要求1所述的一种刷毛修剪设备,其特征在于:所述承载台(2)顶部转动设有第二螺纹杆(22),所述第二螺纹杆(22)外壁螺纹设有位于推毛机构下方的保护板(23)。
技术总结
本技术公开了一种刷毛修剪设备,涉及修剪设备技术领域,包括底座和设在底座顶部的推毛机构,所述底座顶部设有承载台和横柱,所述横柱位于承载台正上方,所述横柱一端外壁固定设有电机,所述横柱另一端内壁转动设有转杆,所述电机输出端和转杆一端外壁之间设有位于横柱外侧的传动机构,所述推毛机构包括活动设在横柱外侧的上推毛刀、固定设在横柱外侧且与上推毛刀配合抵接的下推毛刀。本技术通过电机驱动,配合传动机构的传动和连接机构的连接,能带动上推毛刀进行横向水平往复移动,固定的下推毛刀能与移动的上推毛刀相对剪合,从而实现对刷毛的电动修剪,修剪简便,提高了修剪效率,并提高修剪后刷毛部分的整齐度。
技术研发人员:赵丽,王有刚
受保护的技术使用者:东莞市凤仪堂化妆用具有限公司
技术研发日:20240108
技术公布日:2024/8/27
技术研发人员:赵丽,王有刚
技术所有人:东莞市凤仪堂化妆用具有限公司
备 注:该技术已申请专利,仅供学习研究,如用于商业用途,请联系技术所有人。
声 明 :此信息收集于网络,如果你是此专利的发明人不想本网站收录此信息请联系我们,我们会在第一时间删除
